O Mazda MX-5 pode vir a ter uma versão elétrica, de acordo com o pedido de patente submetido pela marca nipónica.
Neste artigo:
Pedido de patente revela
O MX-5 tem-se mantido fiel ao seu motor de quatro cilindros naturalmente aspirado, mas isso pode mudar em breve e o icónico roadster pode mesmo vir a ter propulsão elétrica.

O pedido de patente foi descoberto pelo Auto Express britânico e a silhueta apresentada na patente não deixa dúvidas. Estamos mesmo a falar do Mazda MX-5, apesar de o pedido apenas dizer que se trata de um “automóvel elétrico”.
Distribuição de peso tradicional do MX-5
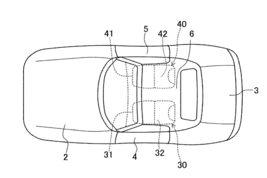
Nos desenhos das patentes, pode-se ver que as baterias são localizadas na secção do túnel de transmissão, o que permitirá manter o tamanho, o formato e a distribuição de peso tradicionais do modelo. As baterias estão ainda colocadas à frente do banco do passageiro e atrás de ambos os bancos.

Aliás, a patente mostra uma grande preocupação dos engenheiros da marca nipónica em manter a sensação de condução própria do roadster, com apenas um motor que aciona as rodas traseiras.
Agilidade em vez de potência
A Mazda manteve-se, assim, fiel às origens, não procurando o desempenho em linha reta com uma configuração de motor duplo e tração às quatro rodas, mas optando por manter o carro o mais leve e ágil possível.
Subscreva a Newsletter
O construtor nipónico afirma no registo de patente que, “como a bateria está instalada na parte do túnel, o centro de gravidade do veículo pode estar próximo do centro do veículo, reduzindo assim ainda mais o momento de inércia de guinada”.
Um carro para todos os mercados
O motor elétrico é colocado mesmo atrás dos bancos, no meio do carro. O motor pode ser colocado atrás de qualquer dos dois bancos, o que deverá acomodar mercados com volante à esquerda e à direita.

A Mazda refere que os pedidos de patente se baseiam num automóvel com tejadilho, que “pode ser do tipo fixo, removível ou dobrável”, sugerindo que o formato descapotável do MX-5 permanecerá possivelmente ao lado de uma versão com capota rígida dobrável.
Os registos de patente por parte da Mazda não confirmam tratar-se do MX-5, tendo como título um lacónico “automóvel elétrico”.
Leia também:
Recorde-se que o construtor japonês confirmou que tem planos para eletrificar toda a sua gama até 2030, o que inclui o icónico MX-5.

